✅ Only for Wholesale
The ambient thermostat, also known as the boiler thermostat, is designed to regulate the temperature of liquids, which are used in central heating installations to command gas and diesel burners to regulate the boiler water temperature. In other words, ambient
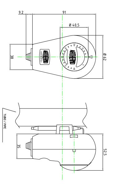
thermostats whose sensor part is made in the form of a bulb and its bulb are placed in a pod and then the pod is installed in the liquid (boiler water), which is called a submerged thermostats. Suffix adjustment) The receiver cuts off the electrical circuit of the burner relay. And it should be installed in the hottest part of the boiler water (out of the boiler or on the boiler). The primary sensing part is hydraulic. There is a sheath with this device that is installed on the boiler. The boiler spa is placed around the pod and its sensing tank is placed inside the pod. For better heat transfer from the boiler spa to the sensing tank (bulb), the gap between the pod and the sensing tank is usually filled with special oil or a mixture of aluminum chips and grease. When the temperature of the water inside the boiler reaches the set temperature on the, the switch inside the Acoustic thermostat is disconnected by the sensor tank, and the burner fails. After the water inside the boiler cools down, the switch is reconnected and the burner restarts take.
The Damatajhiz company confirms the authenticity and physical health of the ARTHERMO thermostat. In the reference site and Damatajhiz store, all kinds of original thermostats have been provided for you, dear customers, in order to create a good feeling of optimal and smart purchase.
Head Office: No. 463,Talebian Alley,Taleghani St.Tehran,Iran


DamaTajhiz has provided the opportunity to sell and ship specialized HVAC equipment for applicants in the following countries as the first and the most popular online store for selling HVAC equipment (Heating , Ventilation , Cooling , Air conditioning) in the Middle East : Afghanistan – Tajikistan - Uzbekistan – Turkmenistan – Azerbaijan – Armenia – Georgia – Turkey – Iraq – Syria – Jordan – Kuwait – Emirates – Qatar – Oman.