منو
لوگو دماتجهیز

شیر برقی آب یونیدی (unid) سری UW سایز "2

دسته بندی: شیر برقی
برند
یونیدی (UNID)
  • نوع سیال: آب، هوا و روغن سبک
  • نوع اتصال: دنده ای
  • بازه فشار کاری برای سیال هوا: 0.5 تا 7 بار
  • بازه فشار کاری برای سیال آب: 0.5 تا 5 بار
  • بازه فشار کاری برای سیال روغن سبک: 0.5 تا 5 بار

ارسال سریع ارسال فوری در تهران

ارسال به شهرستان 2 روز کاری

5
1 نظر ثبت شده
دارای ضمانت اصالت و سلامت فیزیکی کالا
مجموعه دمـاتجهیــز امکان خرید اقساطی کالاهای سایت را فراهم نموده است. فرایند خرید اقساطی از این روش طی مدت ۱۰ الی ۱۵ روز انجام می شود و...
اطلاعات بیشتر و ثبت سفارش
تامین تجهیزات تهویه و تاسیسات (از سال 1383)

راهنمای انتخاب و خرید شیر برقی آب یونیدی (unid) سری UW سایز "2

شیر برقی آب یونیدی (unid) سری UW سایز "2 به صورت مستقیم و افقی در شبکه آبرسانی نصب می گردد. این شیر برقی آب، دارای دیافراگم متصل بوده و همانطور که از نامش پیداست در سایز 2 اینچ تولید و به بازار عرضه می گردد. شیرهای برقی آب یونیدی سری UW در زمره شیرهای Normally Closed قرار می گیرند، یعنی در به طور عادی در حالت "بسته" هستند و رسانایی سیال توسط آنها صورت نمی گیرد.
همچنین می توان از شیر برقی آب سایز "2  فشار خیلی کم نیز استفاده نمود، چرا که طراحی آنها به گونه ایست که می توانند در فشار خیلی کم نیز، سیال را عبور داده و هیچ آسیبی نبینند.

شیر برقی آب یونیدی (unid) سری UW سایز "2

ویژگی های شیر برقی آب یونیدی (unid) سری UW سایز "2 

  • بازه دمایی: 5- تا 80+ درجه سانتیگراد
  • قابل استفاده برای انواع سیال مانند آب، هوا و روغن سبک
  • دارای بوبین 220V-AC
  • قابل استفاده در خط لوله سیستم های تهویه مطبوع و گرمایشی
  • ساخت کشور چین
  • همچنین این محصولات امکان ارائه با بوبین 110V-AC ،24V-AC ،24V-DC و 12V-DC را دارا می باشند. بدیهی است ارائه هریک از بوبین های مذکور، در قیمت نهایی این  شیرها، تفاوت ایجاد خواهد کرد.
  • حداقل فشار کار 0.5 بار حدا کثر فشار کار در این محصولات 7 بار است.
  • در صورت احراز استانداردهای لازم و سفارش محصول کارآمدتر، می توان سیال هایی مثل سیلیکون (تا 130 درجه سانتیگراد)، ویتون (تا 130 درجه سانتیگراد) و EPDM (تا 130 درجه سانتیگراد) را نیز با آن عبور داد.
  • دقت داشته باشید، در صورتی که خط لوله و شبکه آبرسانی تمیز و عاری از هرگونه آلودگی باشد، دوام و کارکرد این شیرهای برقی افزایش چشمگیری پیدا می کند.
  • جهت طولانی تر شدن عمر این محصول، بهتر است Y-Line در قسمت جلویی دریچه الکترومغناطیسی نصب گردد.
  • تلورانس برق مصرفی این شیرهای برقی در جریان مستقیم (DC) معادل 1- و 1+ درصد و در جریان برق متناوب (AC) معادل 10- و 10+ درصد می باشد.
  • شیر برقی آب یونیدی (unid) سری UW سایز "2 باید به صورت افقی نصب گردد و نصب آن به صورت عمودی به هیچ عنوان توصیه نمی شود.
  • در صورت عیور سیال مایع، حداقل دمای سیال 5- و حداکثر دمای آن باید 80 درجه سانتیگراد باشد.
  • توجه داشته باشید این شیرهای برقی برای عبور سیال مایع در دمای بسیار بالا و عبور جامدات (سیالاتی که دارای ذرات جامد هستند) مناسب نمی باشند.
  • در صورت عدم رعایت استانداردهای لوله کشی، خورندگی مایعات و عدم عبور مناسب آن در این شیرها بوجود می آید.
  • در صورتی که ویسکوزیته (گران روی) مایع سیال بیش از 20 CST باشد، استفاده از شیرهای سری UW توصیه نمی گردد.

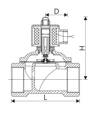
شماتیک فنی شیر برقی آب یونیدی (unid) سری UW سایز "2

ابعاد این محصول، با توجه به اطلاعات داده شده در شکل زیر آمده است: 

  • D: عمق: 48 mm
  • H: ارتفاع: 125 mm
  • L: طول: 167 mm
    ابعاد شیر برقی یونیدی سری UW

محل قرارگیری این محصول در خط لوله 

محل قرار گیری شیر برقی آب یونیدی

اطلاعات کلی شیر برقی آب یونیدی سری UNID 

اطلاعات کلی شیر برقی یونیدی سری UW

گارانتی و اصالت شیر برقی آب یونیدی (unid) سری UW سایز "2

شرکت دماتجهیز، سلامت فیزیکی و اصالت شیر برقی آب یونیدی (unid) سری UW سایز "2  را تأیید می نماید.

در سایت مرجع و فروشگاهی دماتجهیز، انواع شیر برقی یونیدی طراحی شده برای آبرسانی، با قیمت های تضمین شده و گارانتی اصل، برای شما عزیزان، جهت ایجاد حس خوب خرید بهینه و هوشمند، ارائه گردیده است.

نوع شیر برقی آب یونیدی (unid)
مدل 50 UW
سایز - (inch) "2
ولتاژ تغذیه - (V) 220v-AC
میزان گذردهی CV بر حسب GPM 48
محدوده دمای سیال مایع - (C) 80+~5- درجه سانتیگراد
محدوده فشار کار برای مایعات - (bar) 5~0.5 بار
محدوده فشار کار برای هوا - (bar) 7~0.5 بار
محدوده فشار کار برای روغن سبک - (bar) 5~0.5 بار
طول - (mm) 167
عمق - (mm) 48
ارتفاع - (mm) 125
وزن - (kg) 4.32 کیلوگرم
برند یونیدی
آدرس

دفتر مرکزی: تهران - خیابان طالقانی - بین مفتح و بهار - نبش طالبیان - ساختمان ۴۶۳

کارخانه: جاده قدیم ساوه - بعد از سه راهی آدران - شهرک صنعتی قلعه میر - خیابان رینگ کار

خط ویژه فروش
لوگو دماتجهیز
گواهینامه های شرکت دماتجهیز

دمـاتجهیــز از سال 1382 فعالیت خود را با آینده نگری و خلاقیت بعنوان اولین فروشگاه اینترنتی کشور، در قالب مجموعه تخصصی و مهندسی فروش تجهیزات سرمایش، گرمایش و تهویه مطبوع (HVAC) برای اولین بار در خاورمیانه آغاز نمود. زمانی‌که هنوز بسیاری از فروشگاه‌های اینترنتی، تجارت الکترونیک و حتی برگزارکنندگان محترم امروزی همایش‌های فروش اینترنتی در حال و هوای دیگری بودند. شرکت مهندسی، تولیدی و بازرگانی دمـاتجهیــز با نگاهی به آینده، مسیر توسعه برند خود را ابتدا به عنوان اولین استارتاپ عرضه و فروش تجهیزات تأسیسات توسط آقای مهندس مجید زواریان با راه‌اندازی جامع‌ترین وب سایت فروش تجهیزات تهویه مطبوع (HVAC)، تجهیزات گرمایشی و موتورخانه، تجهیزات استخر، سونا و جکوزی، تجهیزات کنترل و ایمنی در 6 بخش و 80 گروه ترسیم نمود. سپس با تولید بسیاری از تجهیزات مهم و کاربردی تهویه مطبوع و حتی گرمایشی مانند انواع فن کویل، داکت اسپلیت، برج خنک کننده، مینی چیلر، چیلر هواخنک و آبی، هواساز، ایرواشر، یونیت هیتر و... با قیمت و گارانتی مناسب، مسیر ارائه این محصولات به پروژه‌های مختلف را با برند دمـاتجهیــز بهبود بخشید (به بخش محصولات دمـاتجهیــز مراجعه فرمایید).

شبکه های اجتماعی:
واتساپ دماتجهیزآپارات دماتجهیزلینکدین دماتجهیزیوتیوب دماتجهیزاینستاگرام دماتجهیز
© 2000-2025, All Rights Reserved