ارسال فوری در تهران
ارسال به شهرستان 2 روز کاری
شرکت دانفوس یکی از تولید کنندگان موفق تجهیزات کنترل ایمنی از جمله شیر موتوری دانفوس سه راهه چدنی "1/2 2 است که با تکیه بر دانش فنی روز اروپا، متخصصین کارآزموده و همچنین ماشین آلات و تجهیزات پیشرفته محصولات با کیفیت و همگام با بالاترین استانداردهای تضمین کیفیت در اروپا را تولید می نماید. شیر موتوری سه راهه چدنی "1/2 2 یکی از انواع شیرهای موتوری خطی، با اتصال فلنجی از نوع چهار سوراخ است.
این شیر موتوری قابلیت عملکرد به دو صورت مخلوط کننده (MIXING) و جدا کننده (DIVERTING) را دارد.

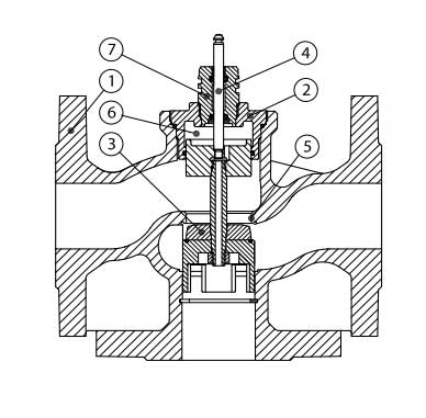
چنانچه در شکل زیر مشاهده می کنید، سری VF3 شیرهای موتوری دانفوس، درصورتیکه در مسیر رفت نصب شوند عملکرد دیورت یا جداکننده و درصورتیکه در مسیر برگشت نصب شوند عملکرد میکس یا مخلوط کننده خواهند داشت.


1: valve body
2: valve insert
3: valve cone
4: valve stem
شرکت دماتجهیز، اصالت و سلامت فیزیکی شیر موتوری دانفوس سه راهه چدنی "1/2 2 مدل (VF3(065Z0261 را تأیید می نماید.
در سایت مرجع و فروشگاهی دماتجهیز، انواع شیر موتوری، جهت ایجاد حس خوب خرید بهینه و هوشمند، برای شما مشتریان عزیز، ارائه گردیده است.
| نوع |
شیر موتوری سه راهه |
|
| مدل |
(VF 3(065Z0261 |
|
| نوع اتصال | فلنجی | |
| کورس حرکت - mm | 20 | |
| سایز اتصالات | Inch | "3 |
| DN | 65 | |
| جنس | چدن | |
| عملکرد | گرمایش و سرمایش | |
| سیال | آب | |
| بازه دمایی قطعه - C° | 130~10- درجه سانتیگراد | |
| ماکزیمم فشار بسته شدن دیفرانسیل در حالت عملکرد جداکننده - bar | 0.6 بار | |
| ماکزیمم فشار بسته شدن دیفرانسیل در حالت عملکرد مخلوط کننده - bar | 2.5 بار | |
| وزن - kg | 25.2 کیلوگرم | |
| ضریب جریان - m³/h | 63m³/h |
|
| میزان فشار اسمی - bar | PN16 | |
| 16 بار | ||
| برند | DANFOSS | |
| کشور سازنده | اسلوونی | |
دفتر مرکزی: تهران - خیابان طالقانی - بین مفتح و بهار - نبش طالبیان - ساختمان ۴۶۳
کارخانه: جاده قدیم ساوه - بعد از سه راهی آدران - شهرک صنعتی قلعه میر - خیابان رینگ کار


دمـاتجهیــز از سال 1382 فعالیت خود را با آینده نگری و خلاقیت بعنوان اولین فروشگاه اینترنتی کشور، در قالب مجموعه تخصصی و مهندسی فروش تجهیزات سرمایش، گرمایش و تهویه مطبوع (HVAC) برای اولین بار در خاورمیانه آغاز نمود. زمانیکه هنوز بسیاری از فروشگاههای اینترنتی، تجارت الکترونیک و حتی برگزارکنندگان محترم امروزی همایشهای فروش اینترنتی در حال و هوای دیگری بودند. شرکت مهندسی، تولیدی و بازرگانی دمـاتجهیــز با نگاهی به آینده، مسیر توسعه برند خود را ابتدا به عنوان اولین استارتاپ عرضه و فروش تجهیزات تأسیسات توسط آقای مهندس مجید زواریان با راهاندازی جامعترین وب سایت فروش تجهیزات تهویه مطبوع (HVAC)، تجهیزات گرمایشی و موتورخانه، تجهیزات استخر، سونا و جکوزی، تجهیزات کنترل و ایمنی در 6 بخش و 80 گروه ترسیم نمود. سپس با تولید بسیاری از تجهیزات مهم و کاربردی تهویه مطبوع و حتی گرمایشی مانند انواع فن کویل، داکت اسپلیت، برج خنک کننده، مینی چیلر، چیلر هواخنک و آبی، هواساز، ایرواشر، یونیت هیتر و... با قیمت و گارانتی مناسب، مسیر ارائه این محصولات به پروژههای مختلف را با برند دمـاتجهیــز بهبود بخشید (به بخش محصولات دمـاتجهیــز مراجعه فرمایید).