تحویل سریع
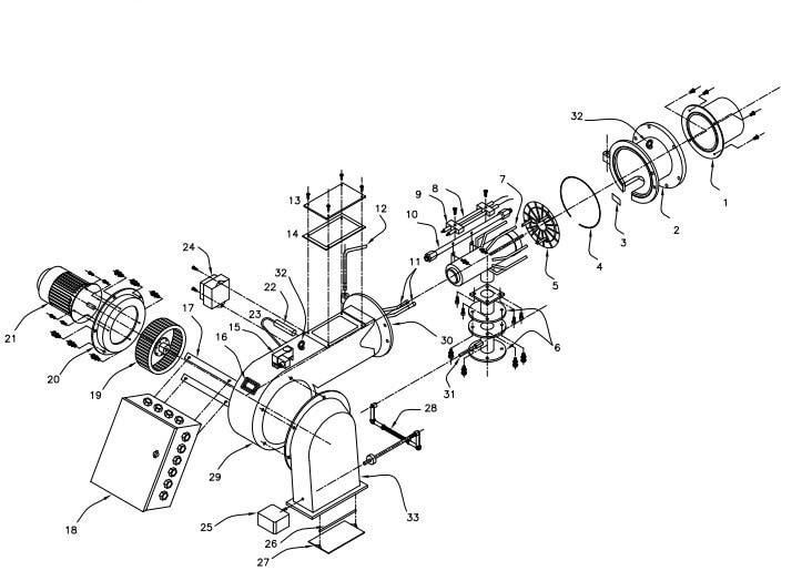
مشعل هوفمات دستگاهی است که با ترکیب کردن میزان مشخص شده از هوا با سوخت معین (گاز، گازوئیل ، مازوت) در یک محیط ، انرژی سوخت مورد نظر را به انرژی گرمایی تبدیل می نماید که در این بین میزانی گاز نیز به وجود می آید.
مشعل هوفمات ساخت شرکت صنایع حرارتی الوند از برندهای ایران تولید کننده مشعل هایی در انواع گازسوز، گازوئیلی، دوگانه سوز، مازوت سوز و... در ظرفیت های 100.000 تا 10.000.000 کیلوکالری در ساعت مطابق با استانداردهای جهانی می باشد.
اصلی ترین کار مشعل گازسوز هوفمات مدل SG7NZG تولید و به وجود آوردن گرمایش می باشد. از این مشعل در صنایع مختلف مربوط به گرمایش به عنوان موتور احتراق در دیگ های چدنی و فولادی موتورخانه ها با ظرفیت ها مختلف استفاده می شود.
مشعل های گازسوز هوفمات در ظرفیت های 100.000 تا 6.000.000 کیلوکالری بر ساعت در 17 مدل تولید می گردند و با حروف SG نمایش داده می شوند.
در سایت مرجع و فروشگاهی دماتجهیز، مشخصات فنی و قیمت های تضمین شده انواع مشعل، با گارانتی اصلی، جهت ایجاد حس خوب خرید بهینه و هوشمند، برای شما عزیزان ارائه گردیده است.

احتراق کامل سوخت حاصل تنظیم دقیق نسبت سوخت و هوا است. هرچه این نسبت با دقت بیشتری تنظیم شود راندمان احتراق بالاتر رفته و در نتیجه به سوخت کمتری احتیاج است. در مشعلهای کوچک تنظیم هوای موردنیاز احتراق مشعل توسط دمپر دستی انجام می شود ولی در مشعل های بزرگ این تنظیم به کمک دمپر اتوماتیک هوای مورد نیاز احتراق تامین میشود. البته با توجه به آنکه دمای هوای دیگ موتورخانه و رطوبت آن در طول سال متغیر است ، در مشعل های بزرگ ، باید در هر فصل دمپر هوا مورد تنظیم مجدد قرار گیرند. امروزه مشعلهای مدرن مجهز به یک سیستم کنترل هوشمند PLC هستند که به صورت اتوماتیک نسبت بین سوخت و هوا را در تمام طول شبانه روز و تمام فصول سال تنظیم مینمایند.
با توجه به کامل نبودن راندمان احتراق سوخت در مشعل ها و در نظر گرفتن برخی تلفات حرارتی ، هنگام انتخاب مشعل ، ظرفیت مشعل را حدود 20 درصد بیشتر از ظرفیت دیگ در نظر می گیریم.
مشعل گازسوز هوفمات مدل SG7NZG دارای 1 سال گارانتی می باشد.
|
مدل |
SG7NZG |
|
| حداکثر قدرت گرمایش | 5.000.000 کیلوکالری بر ساعت | |
| نحوه احتراق | سه مرحله اي | |
| شیر برقی گاز | 1 +70-skp-10+ skp اینچ | |
| نوع کنترل | ساترونیک | |
| نوع موتور دمپر | LKS-310 | |
| توان موتور | 18000 وات | |
| سایز فن | 420*115 میلی متر | |
| حسگر شعله | یون | |
| سایز فیلتر | 6 اینچ | |
| عملکرد دمپر هوا | SQM10 | |
| تابلو کنترل | دارد | |
دفتر مرکزی: تهران - خیابان طالقانی - بین مفتح و بهار - نبش طالبیان - ساختمان ۴۶۳
کارخانه: جاده قدیم ساوه - بعد از سه راهی آدران - شهرک صنعتی قلعه میر - خیابان رینگ کار


دمـاتجهیــز از سال 1382 فعالیت خود را با آینده نگری و خلاقیت بعنوان اولین فروشگاه اینترنتی کشور، در قالب مجموعه تخصصی و مهندسی فروش تجهیزات سرمایش، گرمایش و تهویه مطبوع (HVAC) برای اولین بار در خاورمیانه آغاز نمود. زمانیکه هنوز بسیاری از فروشگاههای اینترنتی، تجارت الکترونیک و حتی برگزارکنندگان محترم امروزی همایشهای فروش اینترنتی در حال و هوای دیگری بودند. شرکت مهندسی، تولیدی و بازرگانی دمـاتجهیــز با نگاهی به آینده، مسیر توسعه برند خود را ابتدا به عنوان اولین استارتاپ عرضه و فروش تجهیزات تأسیسات توسط آقای مهندس مجید زواریان با راهاندازی جامعترین وب سایت فروش تجهیزات تهویه مطبوع (HVAC)، تجهیزات گرمایشی و موتورخانه، تجهیزات استخر، سونا و جکوزی، تجهیزات کنترل و ایمنی در 6 بخش و 80 گروه ترسیم نمود. سپس با تولید بسیاری از تجهیزات مهم و کاربردی تهویه مطبوع و حتی گرمایشی مانند انواع فن کویل، داکت اسپلیت، برج خنک کننده، مینی چیلر، چیلر هواخنک و آبی، هواساز، ایرواشر، یونیت هیتر و... با قیمت و گارانتی مناسب، مسیر ارائه این محصولات به پروژههای مختلف را با برند دمـاتجهیــز بهبود بخشید (به بخش محصولات دمـاتجهیــز مراجعه فرمایید).