در این راهنمای جامع، قصد داریم به بررسی نکات کلیدی در انتخاب، خرید و آشنایی بیشتر با انواع فلوترانسمیتر بپردازیم. با مطالعه این مطالب، شما میتوانید با اطلاعات کافی، برای انتخاب و خرید فلوترانسمیتر مادون قرمز، پنوماتیک و هوشمند از برندهای معتبر مانند اندرس هاورز، رزمونت، کوبولد، زیمنس، مدکو و... اقدام نمایید.
فلوترانسمیترها (ترانسمیتر جریان یا ترانسمیتر دبی) ابزاری جهت کنترل و اندازه گیری دبی گازها و مایعات هستند که خروجی های الکتریکی متناسب با ورودی های دبی را تامین می کنند. فلوترانسمیترها علاوه بر اندازه گیری جریان سیالات، بعنوان ابزاری جهت کنترل و نظارت بر جریان نیز بکار برده می شوند. فلوترانسمیترها دارای انواع فلو ترانسمیتر جرمی، فلوترانسمیتر حجمی، قلوترانسمیتر مادون قرمز، فلو ترانسمیتر پنوماتیک، فلوترانسمیتر دارای صفحه نمایش و فلوترانسمیتر سرعت هستند. همچنین فلو ترانسمیترها دارای فناوری های گوناگونی از جمله فلوترانسمیتر اختلاف فشار، جابجایی مثبت وهمچنین دارای تکنیک های اندازه گیری مختلفی از جمله التراسونیک، جریان جرمی واقعی، الکترومغناطیس و زانویی هستند. با ما همراه شوید تا در ادامه این مقاله به معرفی و بررسی عملکرد انواع فلوترانسمیتر بپردازیم.

دمـاتجهیـز؛ اولین مرجع تخصصی انتخاب و قیمت تجهیزات تهویه و تاسیسات (از سال ۱۳۸۳)
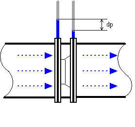
در فلوترانسمیتر اختلاف فشار، معیار اندازه گیری، میزان افت فشار در لوله متناسب با مربع نرخ جریان است.
روش اوریفیس یا صفحات سوراخ Orifice Plate:در روش اوریفیس، صفحات سوراخ در مسیر جریان سیال قرار گرفته و با ایجاد اختلاف فشار میزان فلو را اندازه گیری و کنترل می کنند.

روش دستگاه های مخروطی Cone-based Devices: در روش دستگاه های مخروطی، یک مخروط بر سر راه سیال قرار می دهند تا فشار دیفرانسیل متناسب با سرعت ایجاد شود.

روش پیتوت Pitot Tubes: در روش لوله های پیتوت، یک جفت لوله توخالی وجود دارد که یکی فشار تماس و دیگری پتانسیل را اندازه گیری می کند.

روش ونتوری Venturi Tubes: در روش لوله های ونتوری، قطر لوله ای که سیال از آن عبور می کند به تدریج باریک شده و افت فشار ایجاد کرده و فلو را اندازه گیری می کند.

روش نازل های جریان Nozzles: در روش نازل های جریان روش اندازه گیری فلو شبیه به روش لوله های ونتوری است با این تفاوت که ناحیه خروجی را برای بازیابی فشار فراهم نمی کنند.

فلوترانسمیترهای جابجایی مثبت، با استفاده از دستگاه های PD به روش های الکتریکی و مکانیکی مایعات را اندازه گیری می کنند. 4 روش اندازه گیری فلوترانسمیترهای جابجایی مثبت عبارتند از:
دمـاتجهیز؛ هـــزاران محصــول برای هـــزاران پــروژه (از سال ۱۳۸۳)
فلوترانسمیترها دارای اختلافاتی از قبیل دامنه دمای سیال، نرخ دبی جرمی، نرخ سرعت دبی و نرخ جریان حجمی با یکدیگر هستند که هنگام خرید باید به این اختلافات بر اساس مورد استفاده توجه نمود.
در گروه فلو ترانسمیتر(ترانسمیتر جریان) مجموعه تخصصی دماتجهیز، اطلاعات و قیمتهای فلوترانسمیتر یا ترانسمیتر جریان از برند رزمونت را جهت بررسی و انتخاب مشاهده نمائید.
دمـاتجهیـز؛ انتخاب و خرید تجهیزات تهویه و تاسیسات (از سال ۱۳۸۳)
فلوترانسمیتر یکی از تجهیزات اندازه گیری جریان گازها و مایعات هستند که دارای تکنیک اندازه گیری مختلف هستند. در هنگام خرید فلوترانسمیتر، توجه به فناوری و تکنیک اندازه گیری آن امر ضروری محسوب می شود. مجموعه تخصصی دماتجهیز، مشخصات فنی و ویژگی چندین فلوترانسمیتر در مدل ها و برند هایی مثل اندرس هاورز، رزمونت، کوبولد، زیمنس، مدکو ارائه شده است تا در هنگام خرید فلوترانسمیتر، بهترین انتخاب را داشته باشید.
قیمت فلوترانسمیتر به طور معمول بر اساس ویژگی و برند آن تعیین می شود. فلوترانسمیترها در انواع مادون قرمز، پنوماتیک و هوشمند طراحی و تولید می شوند که با توجه به برند و مدل، قیمت فلوترانسمیتر مشخص می شود.
در مجموعه تخصصی دماتجهیز، قیمت فلوترانسمیترها با تخفیف برای مصرف کنندگان لحاظ شده است و شما می توانید با بررسی وِیژگی و مشخصات فنی فلوترانسمیتر، بهترین برند فلوترانسمیتر را با قیمت مناسب خریداری نمایید.
دماتجهیز علاوه بر جواز کسب معتبر از اتحادیه صنف شوفاژ و تهویه مطبوع، دارای نماد اعتماد الکترونیکی بوده و فعالیت خود را از سال 1383 در دفتر مرکزی تهران آغاز نموده است.

منتظر تماس و مشتاق دیدارتان در مجموعه تخصصی دمـاتجهیــز هستیم

با اشتراک گذاری متون فوق در شبکه های اجتماعی، دوستان خود را از مطالب مهم آن آگاه سازید.
| |
||||
| |
|
|
دفتر مرکزی: تهران - خیابان طالقانی - بین مفتح و بهار - نبش طالبیان - ساختمان ۴۶۳
کارخانه: جاده قدیم ساوه - بعد از سه راهی آدران - شهرک صنعتی قلعه میر - خیابان رینگ کار


دمـاتجهیــز از سال 1382 فعالیت خود را با آینده نگری و خلاقیت بعنوان اولین فروشگاه اینترنتی کشور، در قالب مجموعه تخصصی و مهندسی فروش تجهیزات سرمایش، گرمایش و تهویه مطبوع (HVAC) برای اولین بار در خاورمیانه آغاز نمود. زمانیکه هنوز بسیاری از فروشگاههای اینترنتی، تجارت الکترونیک و حتی برگزارکنندگان محترم امروزی همایشهای فروش اینترنتی در حال و هوای دیگری بودند. شرکت مهندسی، تولیدی و بازرگانی دمـاتجهیــز با نگاهی به آینده، مسیر توسعه برند خود را ابتدا به عنوان اولین استارتاپ عرضه و فروش تجهیزات تأسیسات توسط آقای مهندس مجید زواریان با راهاندازی جامعترین وب سایت فروش تجهیزات تهویه مطبوع (HVAC)، تجهیزات گرمایشی و موتورخانه، تجهیزات استخر، سونا و جکوزی، تجهیزات کنترل و ایمنی در 6 بخش و 80 گروه ترسیم نمود. سپس با تولید بسیاری از تجهیزات مهم و کاربردی تهویه مطبوع و حتی گرمایشی مانند انواع فن کویل، داکت اسپلیت، برج خنک کننده، مینی چیلر، چیلر هواخنک و آبی، هواساز، ایرواشر، یونیت هیتر و... با قیمت و گارانتی مناسب، مسیر ارائه این محصولات به پروژههای مختلف را با برند دمـاتجهیــز بهبود بخشید (به بخش محصولات دمـاتجهیــز مراجعه فرمایید).